产品概览 - Ultralift LM 磁性起重器
安全、高效、通用型磁力起重器。
Ultralift LM是一款经济高效的提升磁铁,可快速高效地提升扁平钢和圆钢截面。
Ultralift LM采用高强度钕‘稀土’磁性材料,实现最佳功率重量比。
该材料具有永久磁性,Ultralift LM设备采用手动启停设计,无需电力驱动且无运行成本。
可随处使用——只需将其连接到起重机或升降机即可。
Ultralift LM配备安全按钮,可锁定手柄位置,防止意外释放负载。
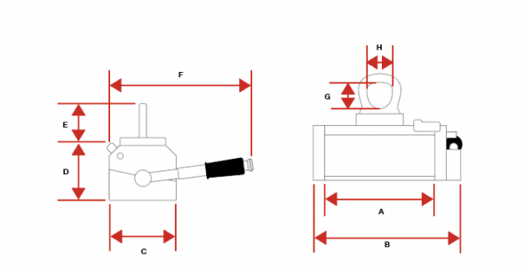
产品型号
| 产品型号 | Self weight (kg) | A (mm) | B (mm) | C (mm) | D (mm) | E (mm) | F (mm) | G (mm) | H (mm) | Material length max (mm) | Flat section swl (kg) | Flat section thickness min (mm) | Round section swl (kg) | Round section dia. max (mm) |
|---|---|---|---|---|---|---|---|---|---|---|---|---|---|---|
| LM0125 | 4.5 | 150 | 110 | 76 | 62 | 120 | 150 | 30 | 27 | 1500 | 125 | 20 | 50 | 250 |
| LM0250 | 4.5 | 150 | 110 | 76 | 62 | 120 | 150 | 30 | 27 | 1500 | 250 | 25 | 100 | 300 |
| LM0500 | 17.5 | 281 | 225 | 106 | 88 | 191 | 243 | 53 | 48 | 2000 | 500 | 30 | 200 | 400 |
| LM1000 | 36.5 | 391 | 325 | 136 | 103 | 217 | 365 | 59 | 52 | 3000 | 1000 | 45 | 400 | 450 |
| LM2000 | 79 | 483 | 400 | 186 | 132 | 302 | 526 | 88 | 79 | 3000 | 2000 | 70 | 800 | 600 |
CN 
